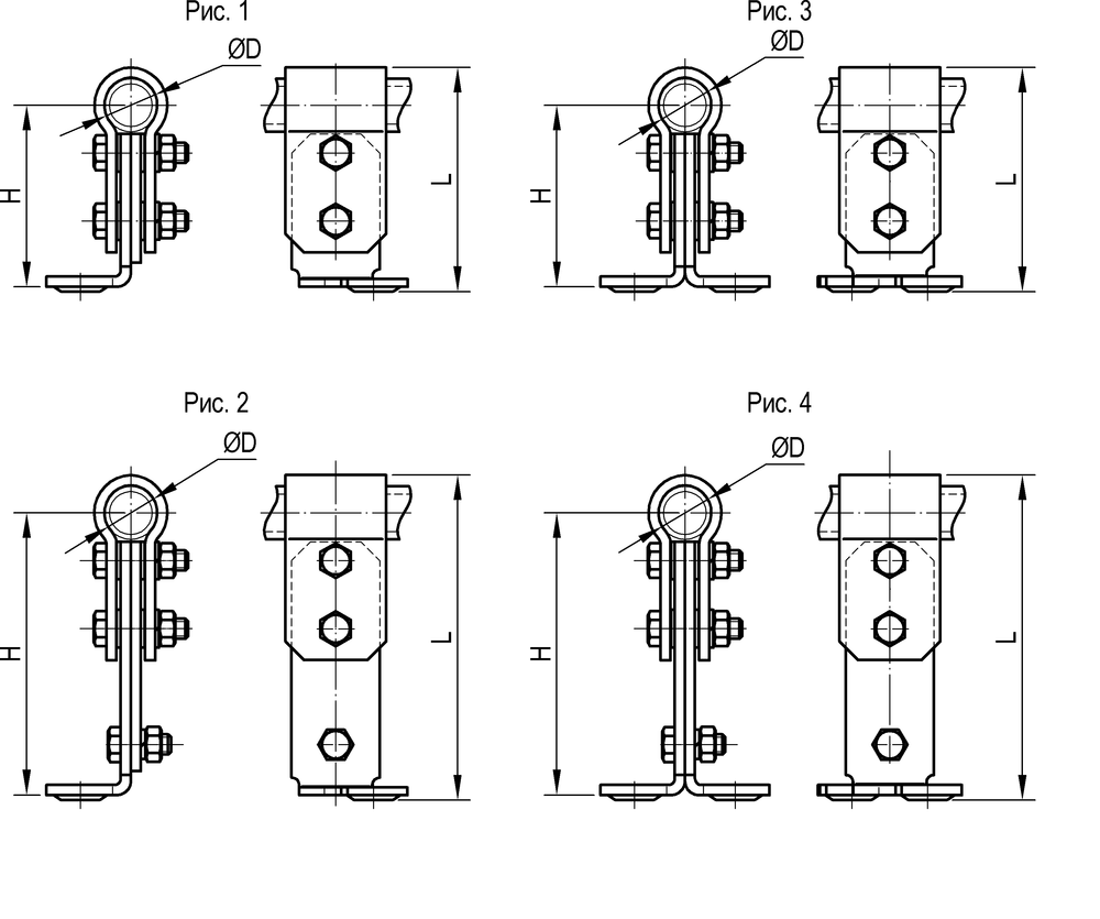
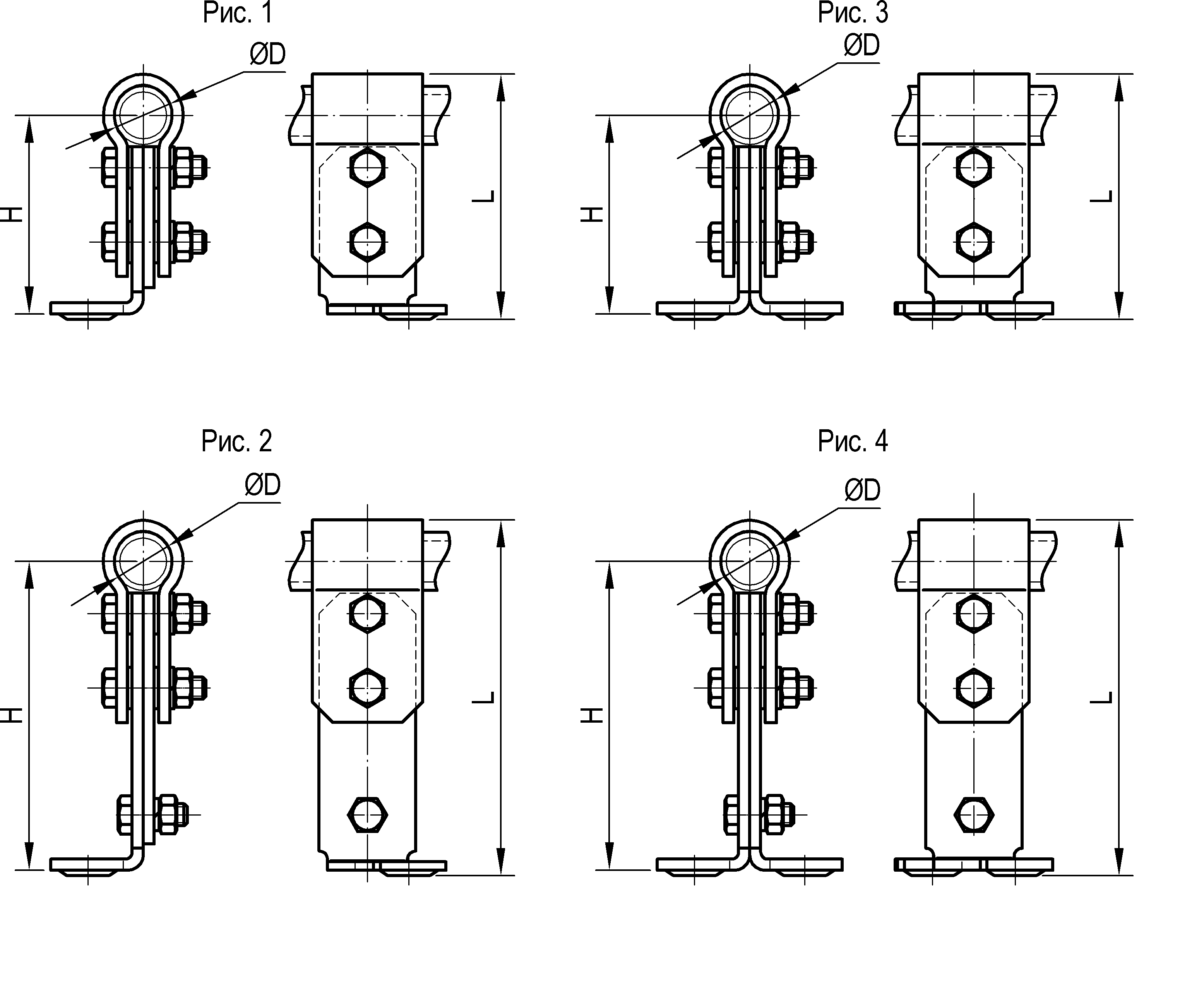
Описание
| Тип | Номер чертежа | Рис. | Кол-во проводов | Размер, мм | Масса, кг | ||
| D | H | L | |||||
| 115-13 | УКС 07949 | 1 | 1 | 42 | 144…156 | 178…200 | 2,6 |
| 115-14 | УКС 07949-01 | 1 | 1 | 50 | 144…156 | 178…200 | 2,8 |
| 115-15 | УКС 07949-02 | 1 | 1 | 60 | 144…156 | 178…200 | 2,9 |
| 116-12 | УКС 07951 | 2 | 1 | 42 | 224…236 | 258…280 | 3,6 |
| 116-13 | УКС 07951-01 | 2 | 1 | 50 | 224…236 | 258…280 | 3,8 |
| 116-14 | УКС 07951-02 | 2 | 1 | 60 | 224…236 | 258…280 | 3,9 |
| 115-16 | УКС 07950 | 3 | 2 | 42 | 144…156 | 178…200 | 2,7 |
| 115-17 | УКС 07950-01 | 3 | 2 | 50 | 144…156 | 178…200 | 2,8 |
| 115-18 | УКС 07950-02 | 3 | 2 | 60 | 144…156 | 178…200 | 3,0 |
| 116-15 | УКС 07952 | 4 | 2 | 42 | 224…236 | 258…280 | 3,8 |
| 116-16 | УКС 07952-01 | 4 | 2 | 50 | 224…236 | 258…280 | 4,0 |
| 116-17 | УКС 07952-02 | 4 | 2 | 60 | 224…236 | 258…280 | 4,1 |
